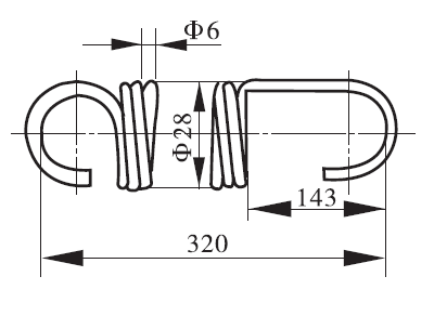
弹簧 8EB.288.614
- 配件所属车型:
- 每台配件数量:2件
- 配件材质:钢丝
- 配件重量:300克
- 配件归属总成:
湘潭湘机机车制造有限公司(原湘潭市湘机工矿配件机电厂),制造销售于一体。主要生产电机车,机车配件,直流电动机,自动开关,轮对,车轮,启动电阻,联轴器,司机控制器,防爆
配件归属机车类型
ZK1.5-6.7.9 100 架线式|ZK1.5-4.6.7.9 250 架线式|ZK3-6.7.9 250-1 架线式|ZK3-6.7.9 250-2 架线式
| 配件归属机车总成类型 |
| QNG3-5-8 受电弓 |
- 上一篇:受电器 QNG3-6
- 下一篇:弹簧 8EB.288.620


